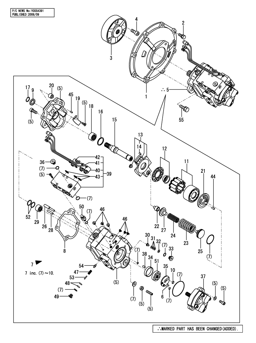
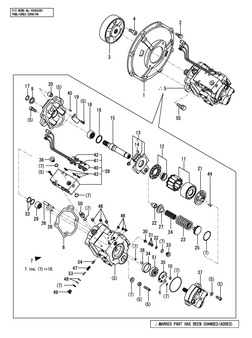
172461-73131 - GEAR PUMP, HYD. OIL PUMP & JOINT

YANMARSKU: 172461-73131

Price:
Sale price$0.00 SGD

You may also like

Recently viewed